缝纫客维修问答
工业缝纫机维修,机修工问答
缝纫客APP
(安卓)

  找回密码
 立即注册
扫二维码加客服微信 缝纫客(缝纫客QQ群:754889794)
查看: 3571|回复: 4
打印 上一主题 下一主题

[钉扣机] 373不上线

[复制链接]
跳转到指定楼层
楼主
发表于 2016-6-9 19:00:50 手机论坛 | 只看该作者 |只看大图 回帖奖励 |倒序浏览 |阅读模式
踩一下不上第二下才上什么原因,动了拨线那个东西了左右位置,拨线标准位置是什么位置,机针下到什么位置拨线左右移动到什么位置,说明书上看不懂,有哪位师傅详细讲解一下,谢谢
回复

使用道具 举报

2#
发表于 2016-6-10 10:26:57 | 只看该作者
是机头上的那个爽钩吗?有图片就好了。他的作用是从线轴上抽取下一个缝纫用的线量。可以调整大小。
回复 支持 反对

使用道具 举报

3#
发表于 2016-6-11 15:58:51 手机论坛 | 只看该作者
学习,静等大神
回复 支持 反对

使用道具 举报

4#
发表于 2016-6-11 21:57:44 | 只看该作者
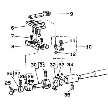
应该是线头偏短,调整第一夹线器和第二夹线器的松线时间。拨线器是指图片中的零件9吧,其调整标准为机针尖平拨线器时,拨线器向下运动停止(向左翻转机器为参照)通过转动拨线三角凸轮的位置来调整;前后位置0.5左右以不碰机针为准,通过前后移动拨线凸轮来调整,同时拨线凸轮上的两颗固定螺丝与拨线三角凸轮上的两颗固定螺丝位置下平齐

1.jpg (15.88 KB, 下载次数: 1803)

1.jpg

2.jpg (6.93 KB, 下载次数: 1792)

2.jpg

3.jpg (6.74 KB, 下载次数: 1964)

3.jpg
回复 支持 反对

使用道具 举报

5#
发表于 2016-6-12 08:39:49 | 只看该作者
把扣子装上,把布料压在压脚下,手动摇机器看看锁勾和机针的配合。前提是机针对扣眼得准确,起码不能别针。
回复 支持 反对

使用道具 举报

您需要登录后才可以回帖 登录 | 立即注册

本版积分规则

QQ|小黑屋|手机论坛|Archiver|缝纫客,工业缝纫机维修问答

GMT+8, 2025-11-17 01:28 , Processed in 0.061517 second(s), 9 queries , File On.

Powered by Discuz! X3.3

© 2001-2017 Comsenz Inc.

快速回复 返回顶部 返回列表