缝纫客维修问答
工业缝纫机维修,机修工问答
缝纫客APP
(安卓)

  找回密码
 立即注册
扫二维码加客服微信 缝纫客(缝纫客QQ群:754889794)
查看: 4392|回复: 8
打印 上一主题 下一主题

[圆头锁眼机] 重机3200的剪线刀是怎么驱动的?

[复制链接]
跳转到指定楼层
楼主
发表于 2016-12-9 13:42:41 | 只看该作者 |只看大图 回帖奖励 |倒序浏览 |阅读模式
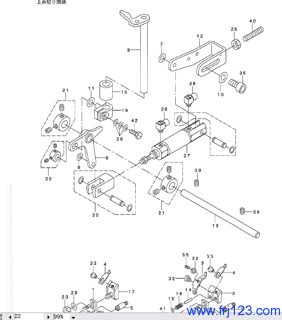
请问:重机3200的剪线刀是怎么驱动的?是气缸、凸轮,还是电磁铁?

meb3200.png (28.38 KB, 下载次数: 4350)

meb3200.png
回复

使用道具 举报

2#
 楼主| 发表于 2016-12-9 14:01:13 | 只看该作者
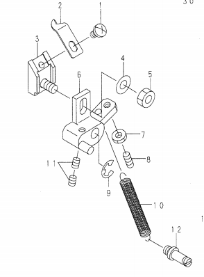
应该是这个气缸,但我没找着在哪里?

meb3200-2.png (59.12 KB, 下载次数: 4419)

meb3200-2.png
回复 支持 反对

使用道具 举报

3#
发表于 2016-12-9 22:19:29 | 只看该作者
谢谢分享正在学习中
回复 支持 反对

使用道具 举报

4#
发表于 2016-12-10 07:31:02 手机论坛 | 只看该作者
路过看看,学习学习
回复 支持 反对

使用道具 举报

5#
发表于 2016-12-10 14:22:50 | 只看该作者
应该是气缸控制。
回复 支持 反对

使用道具 举报

6#
发表于 2017-6-28 08:41:57 | 只看该作者
路过,学习
回复 支持 反对

使用道具 举报

7#
发表于 2017-6-28 15:30:12 | 只看该作者
了解学司
回复 支持 反对

使用道具 举报

8#
发表于 2017-6-28 21:03:54 | 只看该作者
气缸电磁铁一看机器不就知道了
回复 支持 反对

使用道具 举报

9#
发表于 2017-6-28 23:07:41 手机论坛 | 只看该作者
路过的学习来着,谢谢分享
回复 支持 反对

使用道具 举报

您需要登录后才可以回帖 登录 | 立即注册

本版积分规则

QQ|小黑屋|手机论坛|Archiver|缝纫客,工业缝纫机维修问答

GMT+8, 2025-11-17 18:04 , Processed in 0.054888 second(s), 10 queries , File On.

Powered by Discuz! X3.3

© 2001-2017 Comsenz Inc.

快速回复 返回顶部 返回列表